作者:紅星機器時間:2010-10-10更新時間:2010-10-10
如果您想了解我們的產品,可以隨時撥打我公司的銷售熱線或點擊下方按鈕在線咨詢價格!
立即撥打電話享更多優惠:0371-67772626
水力分析(簡稱水析)是借測定顆粒的沉降速度間接測量顆粒粒度組成的方法。常用于小于0.1mm物料的粒度組成測定。常用水析法有三種:重力沉降法、上升水流法和離心沉降法。測定對象是小于0.1mm的物料。測定條件在自由沉降條件下進行,懸浮液的固體容積濃度小于3%,按斯托克斯沉降速度公式計算,即
![]()
式中 h———沉降距離,m;
t———沉降時間,s;
其他符號意義同前。
為了防止水析過程中固體顆粒團聚,通常加入水玻璃等分散劑,它們在水中的濃度是0.01%-0.2%。
(一)沉降水析法
沉降法中比較簡單而又可靠的方法是淘析法,淘析法的基本原理是利用逐步縮短沉降時間的方法,由細到粗、逐步地將各粒級物料從試料中淘析出來。
淘析法水析裝置也稱薩巴寧沉降分析儀,如圖1所示。淘析過程是在一個直徑為70-100mm、高度為150-170mm的玻璃杯1中進行的。杯內裝有一根直徑約為6-10mm的虹吸管2。虹吸管的短管部分應插入杯內,使其管口下端距固體沉淀物料面留有5mm的距離。虹吸管另一端帶有管夾3,插入到溢流收集槽4內。

圖1
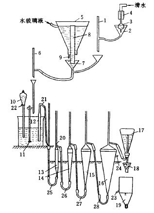
如圖2所示為一組四管水析器。

圖2
這種連續水析器一次可獲得多級產品,操作簡便,只要保持工作正常(及時放出管內氣泡且不使礦粒堵塞膠管),所得結果就較為準確,但水析時間較長。